专利数据库
统计分析
产业报告
专利数据监控
产业人才
行业动态
产业政策法规
维权援助
个人中心
详情
文本
图像
标题
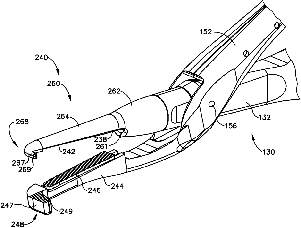
用于超声外科器械的被动分离特征部
授权日
1900-01-01
公开(公告)号
CN109219410A
申请日
2017-05-12
公开(公告)日
2019-01-15
当前申请(专利权)人
伊西康有限责任公司
发明人
K·L·豪泽
简单同族
BR112018073641A2 | CN109219410A | EP3457960A2 | JP2019516479A | US10543013 | US20170333072A1 | US20200163691A1 | WO2017200859A2 | WO2017200859A3
简单同族成员数量
9
简单同族被引用专利总数
0
诉讼案件数
0
法律状态/事件
实质审查
抱歉,您的浏览器不支持PDF预览,请点击链接下载PDF文件