专利数据库
统计分析
产业报告
专利数据监控
产业人才
行业动态
产业政策法规
维权援助
个人中心
详情
文本
图像
标题
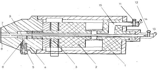
一种可吸引和可冲洗超声刀
授权日
2012-06-06
公开(公告)号
CN202263033U
申请日
2011-10-08
公开(公告)日
2012-06-06
当前申请(专利权)人
金黑鹰
发明人
金黑鹰
简单同族
CN202263033U
简单同族成员数量
1
简单同族被引用专利总数
1
诉讼案件数
0
法律状态/事件
未缴年费
抱歉,您的浏览器不支持PDF预览,请点击链接下载PDF文件