专利数据库
统计分析
产业报告
专利数据监控
产业人才
行业动态
产业政策法规
维权援助
个人中心
详情
文本
图像
标题
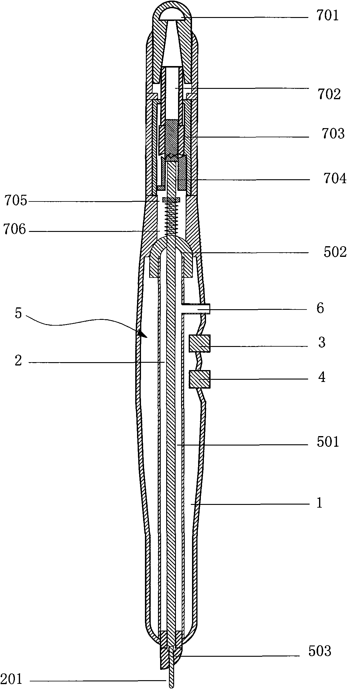
水导电凝止血刀
授权日
2012-07-25
公开(公告)号
CN101961265B
申请日
2010-10-14
公开(公告)日
2012-07-25
当前申请(专利权)人
浙江大学
发明人
丁国平 | 曹利平 | 阙日升
简单同族
CN101961265A | CN101961265B
简单同族成员数量
2
简单同族被引用专利总数
0
诉讼案件数
0
法律状态/事件
未缴年费
抱歉,您的浏览器不支持PDF预览,请点击链接下载PDF文件