专利数据库
统计分析
产业报告
专利数据监控
产业人才
行业动态
产业政策法规
维权援助
个人中心
详情
文本
图像
标题
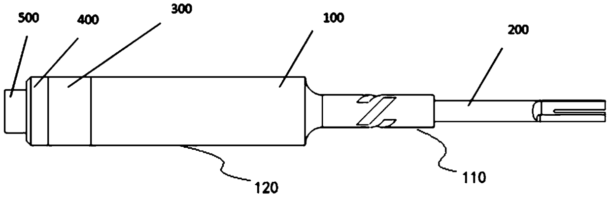
一种同时提高切割和止血效果的超声手术刀
授权日
1900-01-01
公开(公告)号
CN105310746A
申请日
2015-07-22
公开(公告)日
2016-02-10
当前申请(专利权)人
以诺康医疗科技(苏州)有限公司
发明人
颜忠余 | 骆威
简单同族
CN105310746A | CN105310746B
简单同族成员数量
2
简单同族被引用专利总数
3
诉讼案件数
0
法律状态/事件
授权
抱歉,您的浏览器不支持PDF预览,请点击链接下载PDF文件