专利数据库
统计分析
产业报告
专利数据监控
产业人才
行业动态
产业政策法规
维权援助
个人中心
详情
文本
图像
标题
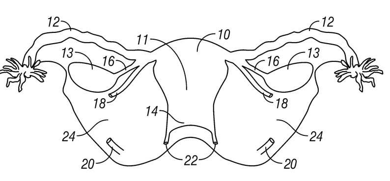
수술 절차를 수행하는 방법 및 장치
授权日
1900-01-01
公开(公告)号
KR1020080018190A
申请日
2006-05-12
公开(公告)日
2008-02-27
当前申请(专利权)人
아라곤 서지컬, 인코포레이티드.
发明人
네자트,카므란 | 슈테른,로저,에이. | 에더,조셉 | 에델스테인,피터,세스
简单同族
AU2006247610A1 | CA2607363A1 | EP1885271A2 | JP2008539980A | KR1020080018190A | MX2007014167A | US20060259035A1 | WO2006124590A2 | WO2006124590A3
简单同族成员数量
9
简单同族被引用专利总数
42
诉讼案件数
0
法律状态/事件
驳回
抱歉,您的浏览器不支持PDF预览,请点击链接下载PDF文件