专利数据库
统计分析
产业报告
专利数据监控
产业人才
行业动态
产业政策法规
维权援助
个人中心
详情
文本
图像
标题
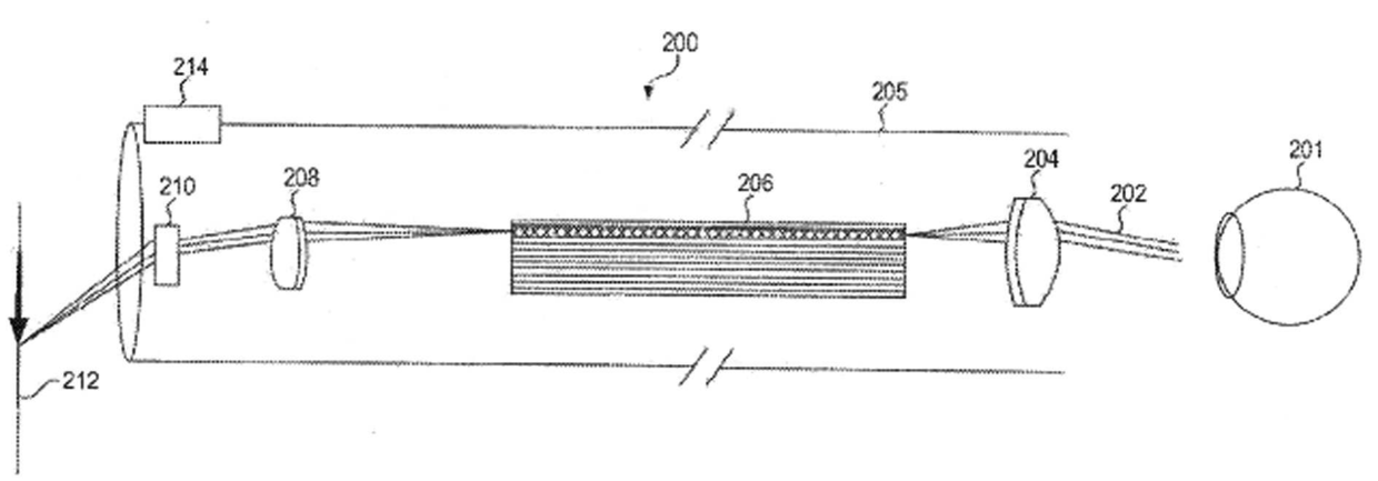
액체 렌즈 기법에 기반한 가변 도수 내시경
授权日
2018-04-10
公开(公告)号
KR101849432B1
申请日
2011-12-01
公开(公告)日
2018-04-16
当前申请(专利权)人
아드렌스 비콘 인코포레이티드
发明人
굽타,아미타바 | 슈넬,얼번 | 에간,윌리엄 | 니바우얼,리사 | 스탄고타,프랭크 | 소베,쥴리앙 | 세인트 지슬랭,미쉘
简单同族
AR084502A1 | AU2011336505A1 | AU2011336505B2 | BR112013013584A2 | CA2819514A1 | CA2819514C | CN103384491A | CN103384491B | EP2645919A1 | EP2645919A4 | EP2645919B1 | HK1187226A | IL226618A | JP2013545558A | JP6031445B2 | KR101849432B1 | KR1020140001963A | MX2013006098A | MX338575B | MX343835B | PT2645919T | RU2013126208A | RU2622988C2 | SG10201509874YA | SG190420A1 | US20120143004A1 | US9795281 | WO2012075280A1 | ZA201303880B
简单同族成员数量
29
简单同族被引用专利总数
23
诉讼案件数
0
法律状态/事件
授权
抱歉,您的浏览器不支持PDF预览,请点击链接下载PDF文件