专利数据库
统计分析
产业报告
专利数据监控
产业人才
行业动态
产业政策法规
维权援助
个人中心
详情
文本
图像
标题
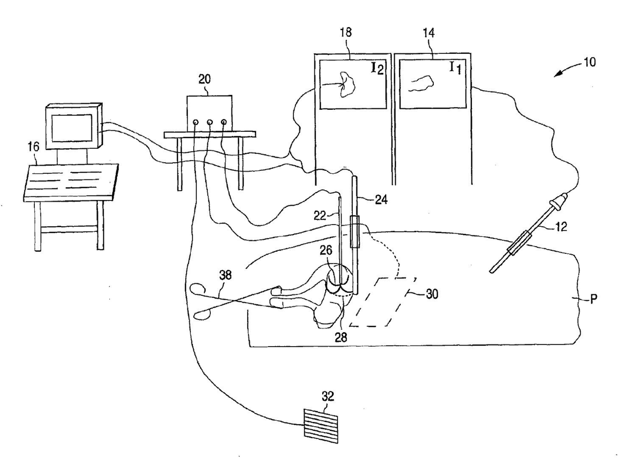
부인과의학의 절제방법 및 절제 바늘을 사용하는 시스템
授权日
1900-01-01
公开(公告)号
KR1020040011417A
申请日
2001-08-07
公开(公告)日
2004-02-05
当前申请(专利权)人
베클 코포레이션
发明人
LEE, BRUCE B.
简单同族
AT481050T | AU2001281201A1 | CA2418896A1 | CA2418896C | DE60143087D1 | EP1309286A1 | EP1309286B1 | JP2004524865A | JP2004524865A5 | KR101092188B1 | KR1020040011417A | KR1020090098922A | US20020022835A1 | US20040215182A1 | US20080045939A1 | US20080045940A1 | US6840935 | WO2002011639A1
简单同族成员数量
18
简单同族被引用专利总数
156
诉讼案件数
0
法律状态/事件
未缴年费
抱歉,您的浏览器不支持PDF预览,请点击链接下载PDF文件