专利数据库
统计分析
产业报告
专利数据监控
产业人才
行业动态
产业政策法规
维权援助
个人中心
详情
文本
图像
标题
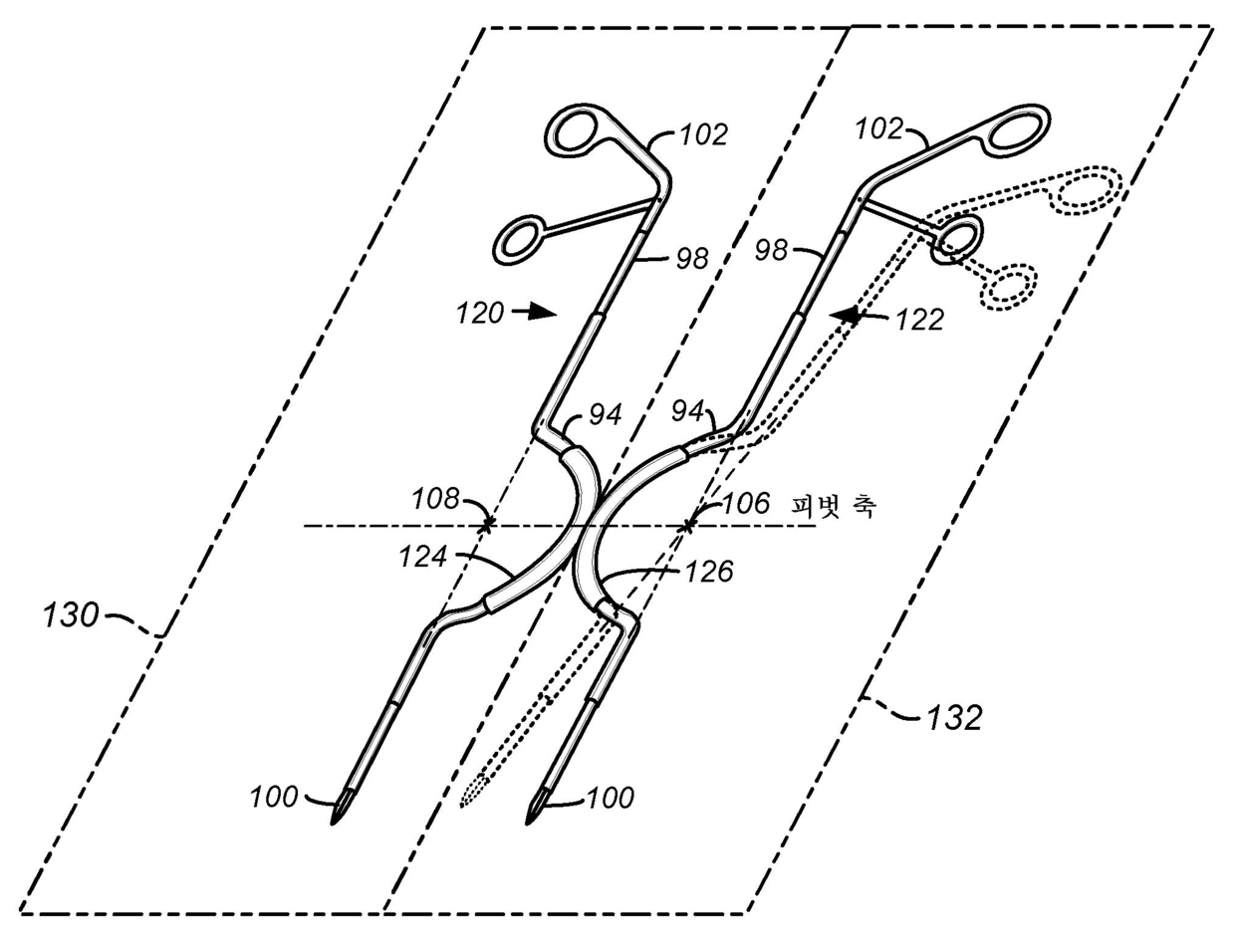
좌우로 이격된 가상 삽입 지점을 갖는 단일 포트 복강경의 접근을 위한 기구
授权日
1900-01-01
公开(公告)号
KR1020130111525A
申请日
2011-06-23
公开(公告)日
2013-10-10
当前申请(专利权)人
키에투라키스 마치에 제이.
发明人
키에투라키스마치에제이.
简单同族
CN103200860A | CN103200860B | EP2584953A2 | EP2584953A4 | HK1182609A | HK1182609A1 | JP2013529978A | JP2013529978A5 | JP5851499B2 | KR101822685B1 | KR1020130111525A | US20120116362A1 | US20150238250A1 | US9949790 | WO2011163520A2 | WO2011163520A3
简单同族成员数量
16
简单同族被引用专利总数
62
诉讼案件数
0
法律状态/事件
授权
抱歉,您的浏览器不支持PDF预览,请点击链接下载PDF文件