专利数据库
统计分析
产业报告
专利数据监控
产业人才
行业动态
产业政策法规
维权援助
个人中心
详情
文本
图像
标题
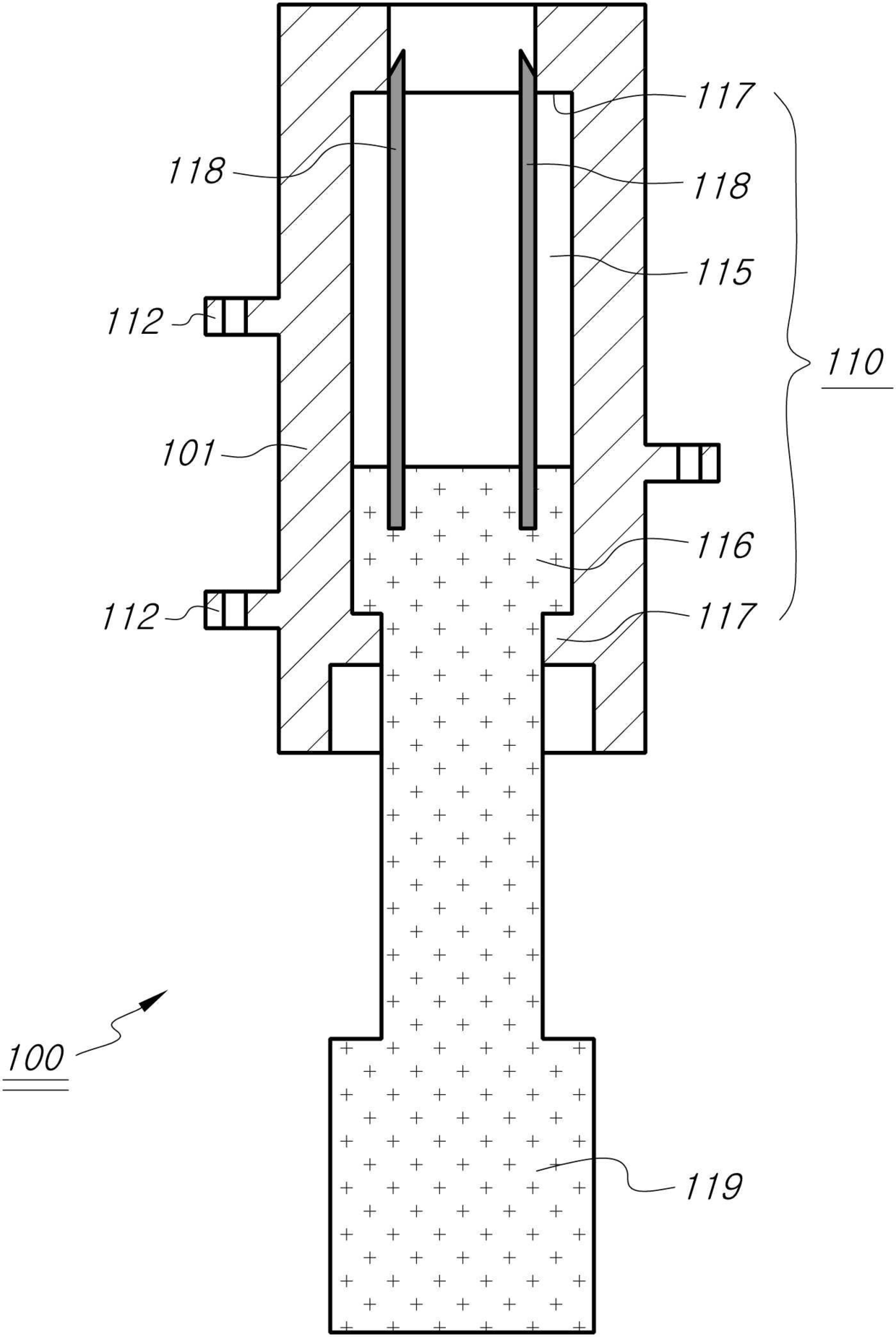
발명의 명칭 복강경수술용 장기 견인장치
授权日
2014-08-22
公开(公告)号
KR101435664B1
申请日
2014-02-18
公开(公告)日
2014-08-28
当前申请(专利权)人
주식회사 인코아 | 주식회사 엔도비전 | 백경석
发明人
정민호 | 백경석
简单同族
KR101435664B1
简单同族成员数量
1
简单同族被引用专利总数
0
诉讼案件数
0
法律状态/事件
未缴年费
抱歉,您的浏览器不支持PDF预览,请点击链接下载PDF文件