专利数据库
统计分析
产业报告
专利数据监控
产业人才
行业动态
产业政策法规
维权援助
个人中心
详情
文本
图像
标题
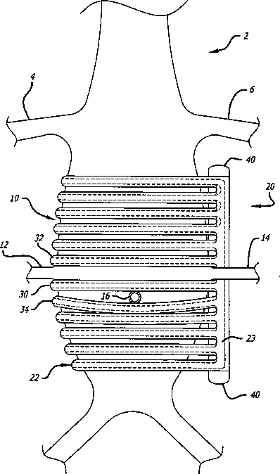
Aneurysm treatment system and method
授权日
1900-01-01
公开(公告)号
US20060281966A1
申请日
2006-04-14
公开(公告)日
2006-12-14
当前申请(专利权)人
EMERGE MEDSYSTEMS, LLC
发明人
PEACOCK, JAMES C. III
简单同族
EP1684666A2 | EP1684666A4 | US20060281966A1 | WO2005037138A2 | WO2005037138A3
简单同族成员数量
5
简单同族被引用专利总数
65
诉讼案件数
0
法律状态/事件
撤回 | 权利转移
抱歉,您的浏览器不支持PDF预览,请点击链接下载PDF文件