专利数据库
统计分析
产业报告
专利数据监控
产业人才
行业动态
产业政策法规
维权援助
个人中心
详情
文本
图像
标题
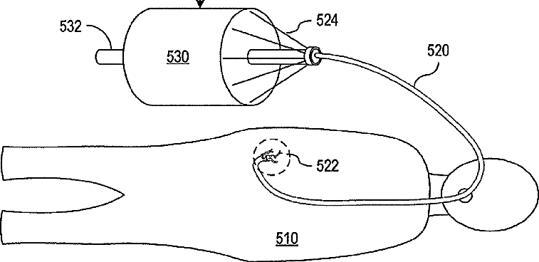
Rotation of outrigger during medical procedure
授权日
1900-01-01
公开(公告)号
US20140228633A1
申请日
2014-04-16
公开(公告)日
2014-08-14
当前申请(专利权)人
INTUITIVE SURGICAL OPERATIONS, INC.
发明人
ROGERS, THEDORE W.
简单同族
US20090247821A1 | US20140228633A1 | US20160073864A1 | US8727966 | US9801529
简单同族成员数量
5
简单同族被引用专利总数
60
诉讼案件数
0
法律状态/事件
撤回
抱歉,您的浏览器不支持PDF预览,请点击链接下载PDF文件