专利数据库
统计分析
产业报告
专利数据监控
产业人才
行业动态
产业政策法规
维权援助
个人中心
详情
文本
图像
标题
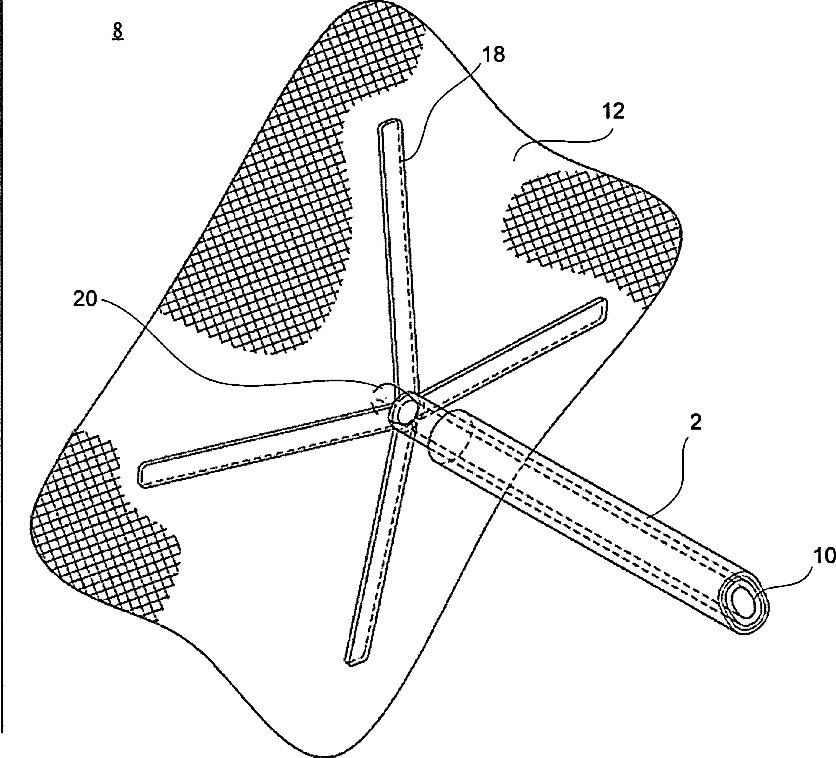
Medical instruments and methods for using the same
授权日
1900-01-01
公开(公告)号
US20070185506A1
申请日
2004-08-04
公开(公告)日
2007-08-09
当前申请(专利权)人
JACKSON KELLY
发明人
JACKSON, KELLY
简单同族
US20070185506A1 | WO2005016389A2 | WO2005016389A3
简单同族成员数量
3
简单同族被引用专利总数
146
诉讼案件数
0
法律状态/事件
撤回
抱歉,您的浏览器不支持PDF预览,请点击链接下载PDF文件