专利数据库
统计分析
产业报告
专利数据监控
产业人才
行业动态
产业政策法规
维权援助
个人中心
详情
文本
图像
标题
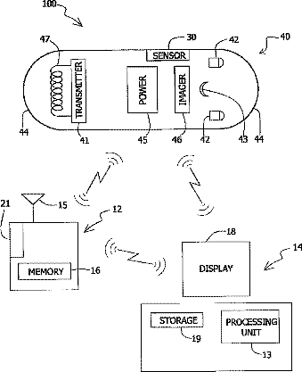
System and Device for in Vivo Procedures
授权日
1900-01-01
公开(公告)号
US20080312502A1
申请日
2006-12-03
公开(公告)日
2008-12-18
当前申请(专利权)人
GIVEN IMAGING LTD
发明人
SWAIN, CHRISTOPHER PAUL | RABINOVITZ, ELISHA
简单同族
EP1959830A2 | EP1959830A4 | JP2009517167A | JP2009517167A5 | US20080312502A1 | WO2007063550A2 | WO2007063550A3
简单同族成员数量
7
简单同族被引用专利总数
91
诉讼案件数
0
法律状态/事件
撤回 | 权利转移
抱歉,您的浏览器不支持PDF预览,请点击链接下载PDF文件