专利数据库
统计分析
产业报告
专利数据监控
产业人才
行业动态
产业政策法规
维权援助
个人中心
详情
文本
图像
标题
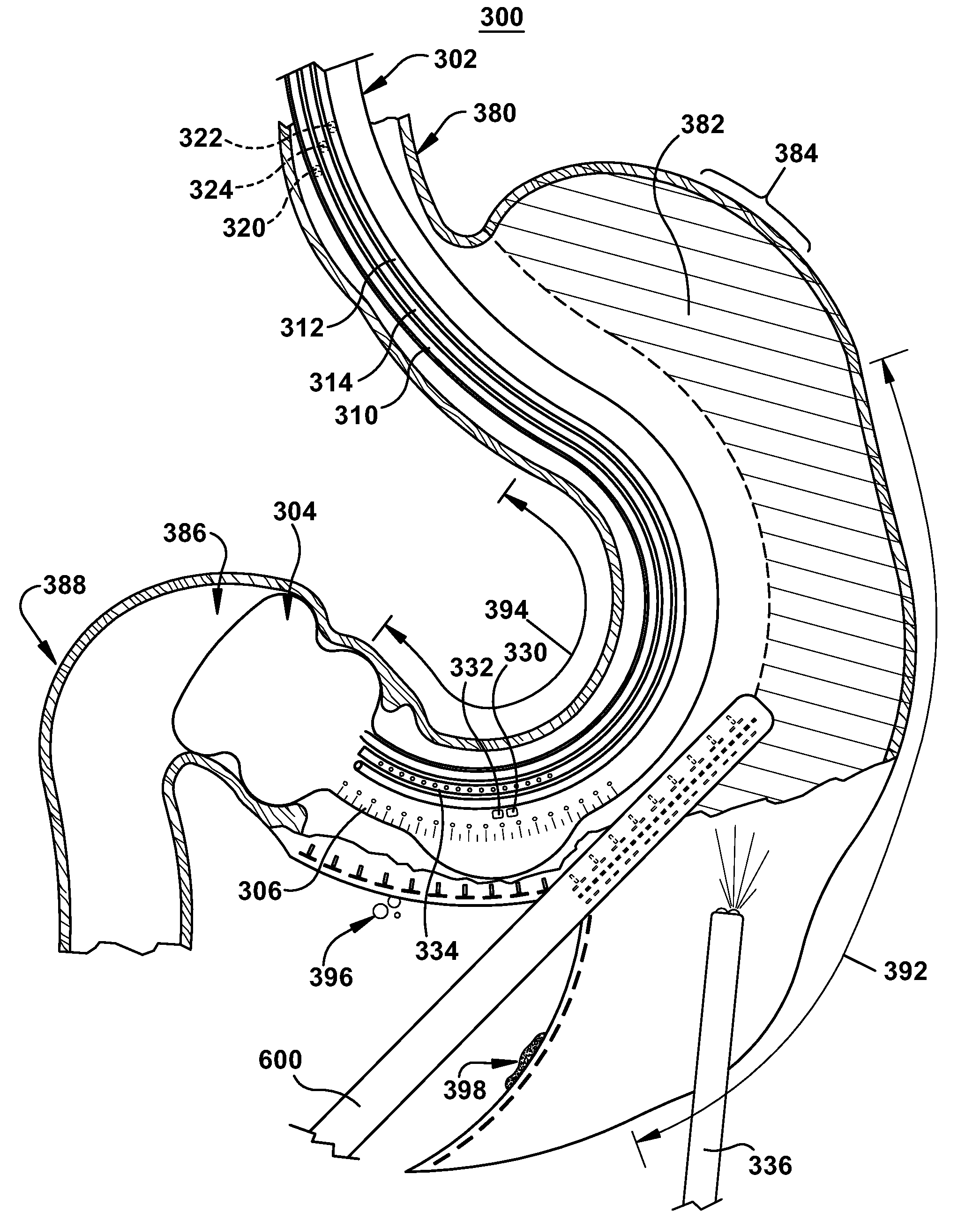
Surgical technique(s) and/or device(s)
授权日
1900-01-01
公开(公告)号
US20140081176A1
申请日
2013-11-11
公开(公告)日
2014-03-20
当前申请(专利权)人
HASSAN, CHANDRA
发明人
HASSAN, CHANDRA
简单同族
US20140081176A1 | WO2012141679A1
简单同族成员数量
2
简单同族被引用专利总数
391
诉讼案件数
0
法律状态/事件
撤回
抱歉,您的浏览器不支持PDF预览,请点击链接下载PDF文件