专利数据库
统计分析
产业报告
专利数据监控
产业人才
行业动态
产业政策法规
维权援助
个人中心
详情
文本
图像
标题
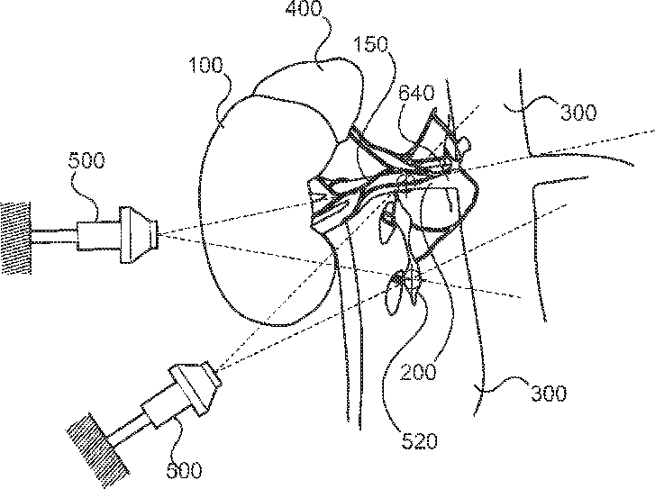
Non-invasive or minimally invasive paraspinal and pre-aortic sympathetic ablation for the treatment of hypertension
授权日
1900-01-01
公开(公告)号
US20140336497A1
申请日
2014-03-12
公开(公告)日
2014-11-13
当前申请(专利权)人
OTSUKA MEDICAL DEVICES CO., LTD.
发明人
GERTNER, MICHAEL
简单同族
US20120065492A1 | US20130253381A1 | US20140194784A1 | US20140194785A1 | US20140336497A1 | US8517962
简单同族成员数量
6
简单同族被引用专利总数
108
诉讼案件数
0
法律状态/事件
撤回 | 权利转移
抱歉,您的浏览器不支持PDF预览,请点击链接下载PDF文件