专利数据库
统计分析
产业报告
专利数据监控
产业人才
行业动态
产业政策法规
维权援助
个人中心
详情
文本
图像
标题
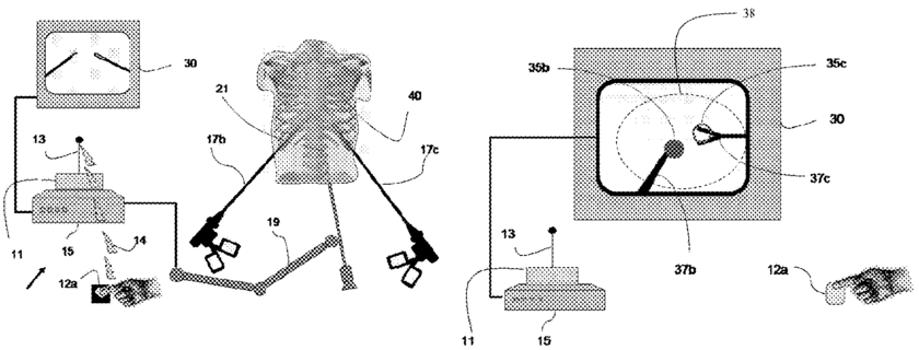
Device and method for assisting laparoscopic surgery—rule based approach
授权日
2018-07-24
公开(公告)号
US10028792
申请日
2015-08-03
公开(公告)日
2018-07-24
当前申请(专利权)人
TRANSENTERIX EUROPE, S.A.R.L.
发明人
FRIMER, MOTTI | SHOLEV, MORDEHAI | PFEFFER, YEHUDA
简单同族
US10028792 | US10039609 | US10064691 | US10201392 | US20140194896A1 | US20160007826A1 | US20160007827A1 | US20160007828A1 | US20160051336A1 | US20160174955A1 | US20160270864A1 | US20170027654A1 | US20190117323A1 | US9204939 | US9504456 | US9757204 | US9937013
简单同族成员数量
17
简单同族被引用专利总数
40
诉讼案件数
0
法律状态/事件
授权 | 权利转移
抱歉,您的浏览器不支持PDF预览,请点击链接下载PDF文件