专利数据库
统计分析
产业报告
专利数据监控
产业人才
行业动态
产业政策法规
维权援助
个人中心
详情
文本
图像
标题
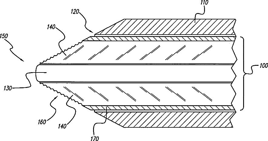
Engagement tool for implantable medical devices
授权日
1900-01-01
公开(公告)号
US20050267555A1
申请日
2005-05-24
公开(公告)日
2005-12-01
当前申请(专利权)人
BOSTON SCIENTIFIC NEUROMODULATION CORPORATION
发明人
MARNFELDT, GORAN N. | CARBUNARU, RAFAEL | MCCLURE, KELLY H. | HALLER, MATTHEW I. | HE, TOM XIAOHAI | WHITEHURST, TODD K. | ANDERSON, MEREDITH L. | MAKOUS, JAMES C. | JAAX, KRISTEN N. | JOHNSON, PETER K.
简单同族
US20050267555A1 | US20090281605A1 | US8364280 | WO2005118057A2 | WO2005118057A3
简单同族成员数量
5
简单同族被引用专利总数
226
诉讼案件数
0
法律状态/事件
撤回 | 权利转移
抱歉,您的浏览器不支持PDF预览,请点击链接下载PDF文件