专利数据库
统计分析
产业报告
专利数据监控
产业人才
行业动态
产业政策法规
维权援助
个人中心
详情
文本
图像
标题
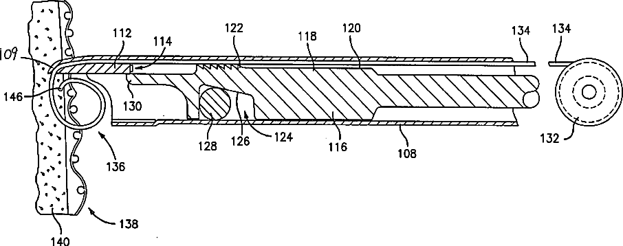
Tacking tool and tack
授权日
1900-01-01
公开(公告)号
US20070093854A1
申请日
2006-12-15
公开(公告)日
2007-04-26
当前申请(专利权)人
TYCO HEALTHCARE GROUP LP
发明人
KAYAN, HELMUT
简单同族
AU2003228589A1 | AU2003228589A8 | DE60336123D1 | EP1494573A2 | EP1494573A4 | EP1494573B1 | ES2360938T3 | US20030236534A1 | US20070093854A1 | US7169157 | WO2003088815A2 | WO2003088815A3
简单同族成员数量
12
简单同族被引用专利总数
114
诉讼案件数
0
法律状态/事件
撤回 | 权利转移
抱歉,您的浏览器不支持PDF预览,请点击链接下载PDF文件