专利数据库
统计分析
产业报告
专利数据监控
产业人才
行业动态
产业政策法规
维权援助
个人中心
详情
文本
图像
标题
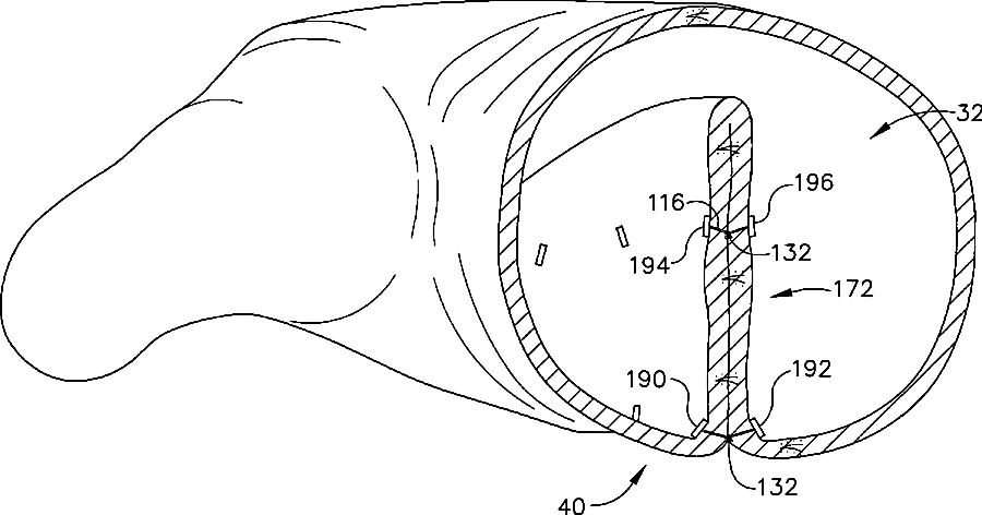
Hybrid endoscopic/laparoscopic device for forming serosa to serosa plications in a gastric cavity
授权日
1900-01-01
公开(公告)号
US20090024144A1
申请日
2007-07-18
公开(公告)日
2009-01-22
当前申请(专利权)人
ETHICON ENDO-SURGERY, INC.
发明人
ZEINER, MARK S. | HARRIS, JASON L. | STOKES, MICHAEL J. | CRAINICH, LAWRENCE | ALBRECHT, THOMAS E. | ALESI, DANIEL
简单同族
CN101347353A | EP2016910A2 | JP2009072573A | US20090024144A1
简单同族成员数量
4
简单同族被引用专利总数
103
诉讼案件数
0
法律状态/事件
撤回 | 权利转移
抱歉,您的浏览器不支持PDF预览,请点击链接下载PDF文件