专利数据库
统计分析
产业报告
专利数据监控
产业人才
行业动态
产业政策法规
维权援助
个人中心
详情
文本
图像
标题
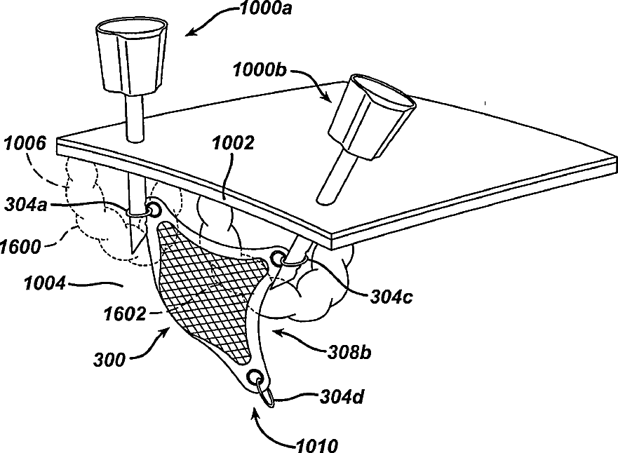
Tissue retractors
授权日
1900-01-01
公开(公告)号
US20090137877A1
申请日
2007-11-26
公开(公告)日
2009-05-28
当前申请(专利权)人
ETHICON ENDO-SURGERY, INC.
发明人
MINNELLI, PATRICK J. | JOHNSON, GREGORY W.
简单同族
CA2706331A1 | CN101917912A | EP2229105A2 | JP2011504764A | US20090137877A1 | US8517931 | WO2009070518A2 | WO2009070518A3
简单同族成员数量
8
简单同族被引用专利总数
54
诉讼案件数
0
法律状态/事件
授权 | 权利转移
抱歉,您的浏览器不支持PDF预览,请点击链接下载PDF文件