专利数据库
统计分析
产业报告
专利数据监控
产业人才
行业动态
产业政策法规
维权援助
个人中心
详情
文本
图像
标题
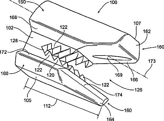
Suture lock
授权日
2012-02-07
公开(公告)号
US8109968
申请日
2008-09-05
公开(公告)日
2012-02-07
当前申请(专利权)人
ANPA MEDICAL, INC.
发明人
ASHLEY, JOHN E. | LYONS, DAVID F.
简单同族
US20090076546A1 | US20120136389A1 | US8109968
简单同族成员数量
3
简单同族被引用专利总数
46
诉讼案件数
0
法律状态/事件
未缴年费 | 权利转移
抱歉,您的浏览器不支持PDF预览,请点击链接下载PDF文件