专利数据库
统计分析
产业报告
专利数据监控
产业人才
行业动态
产业政策法规
维权援助
个人中心
详情
文本
图像
标题
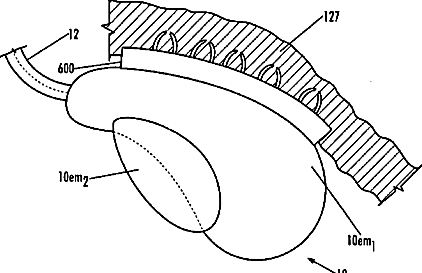
Devices and methods for treatment of obesity
授权日
2013-01-01
公开(公告)号
US8342183
申请日
2007-03-10
公开(公告)日
2013-01-01
当前申请(专利权)人
VIBRYNT, INC., A DELAWARE CORPORATION
发明人
MAKOWER, JOSHUA | BENDER, THEODORE M. | SHIU, BRIAN K. | ACOSTA, PABLO G. | UEMURA, SHUJI | FRIEDMANN, JOSEF L. | LEE, CRYSTINE
简单同族
EP2079407A2 | EP2449982A2 | EP2449982A3 | US20070250087A1 | US20070250088A1 | US20070250089A1 | US20070250090A1 | US20070250102A1 | US20070270892A1 | US20080255602A1 | US20080262520A1 | US20080262521A1 | US20080262523A1 | US20120283766A1 | US8342183 | US8356605 | WO2008085291A2 | WO2008085291A3
简单同族成员数量
18
简单同族被引用专利总数
119
诉讼案件数
0
法律状态/事件
授权 | 权利转移
抱歉,您的浏览器不支持PDF预览,请点击链接下载PDF文件