专利数据库
统计分析
产业报告
专利数据监控
产业人才
行业动态
产业政策法规
维权援助
个人中心
详情
文本
图像
标题
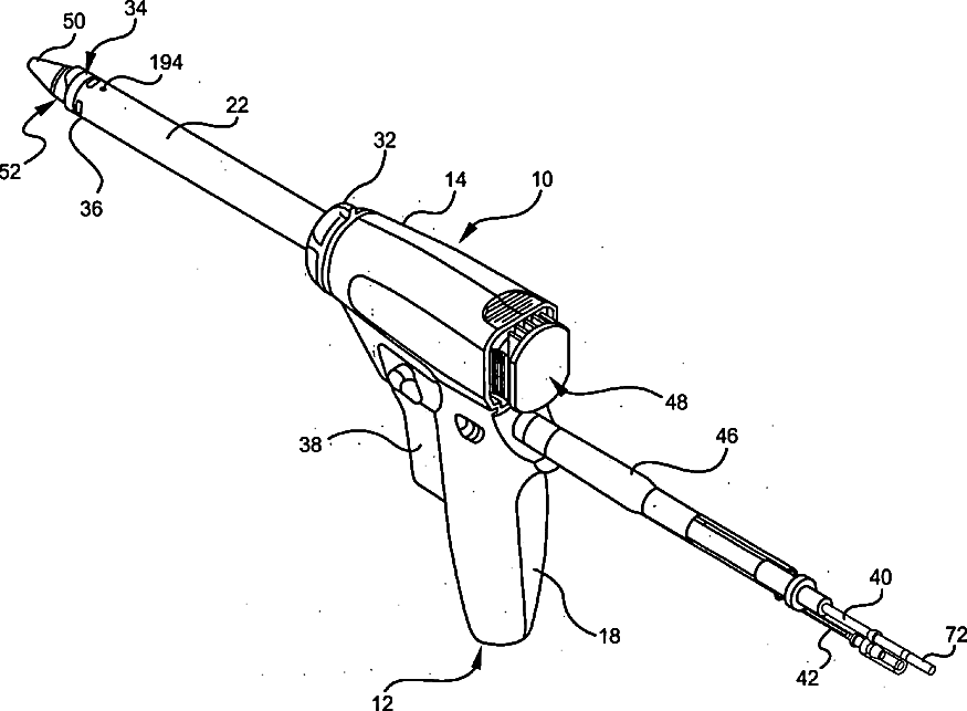
Morcellator with detachable handle
授权日
1900-01-01
公开(公告)号
US20080039884A1
申请日
2006-08-10
公开(公告)日
2008-02-14
当前申请(专利权)人
ETHICON, INC.
发明人
NOHILLY, MARTIN J. | COHN, SIMON
简单同族
AU2007284244A1 | AU2007284244B2 | CA2660165A1 | CA2660165C | CN101522123A | CN101522123B | EP2056728A2 | KR101399298B1 | KR1020090060998A | US20080039884A1 | US8100928 | WO2008021716A2 | WO2008021716A3
简单同族成员数量
13
简单同族被引用专利总数
40
诉讼案件数
0
法律状态/事件
授权 | 权利转移
抱歉,您的浏览器不支持PDF预览,请点击链接下载PDF文件