专利数据库
统计分析
产业报告
专利数据监控
产业人才
行业动态
产业政策法规
维权援助
个人中心
详情
文本
图像
标题
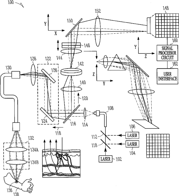
Optical Imaging or Spectroscopy Systems and Methods
授权日
1900-01-01
公开(公告)号
US20160213252A1
申请日
2016-03-31
公开(公告)日
2016-07-28
当前申请(专利权)人
THE TRUSTEES OF COLUMBIA UNIVERSITY IN THE CITY OF NEW YORK
发明人
HILLMAN, ELIZABETH MARJORIE CLARE | BURGESS, SEAN A.
简单同族
US20100168586A1 | US20160213252A1 | US20180214024A1 | US9655523 | WO2009005748A1
简单同族成员数量
5
简单同族被引用专利总数
74
诉讼案件数
0
法律状态/事件
撤回 | 许可 | 权利转移
抱歉,您的浏览器不支持PDF预览,请点击链接下载PDF文件