专利数据库
统计分析
产业报告
专利数据监控
产业人才
行业动态
产业政策法规
维权援助
个人中心
详情
文本
图像
标题
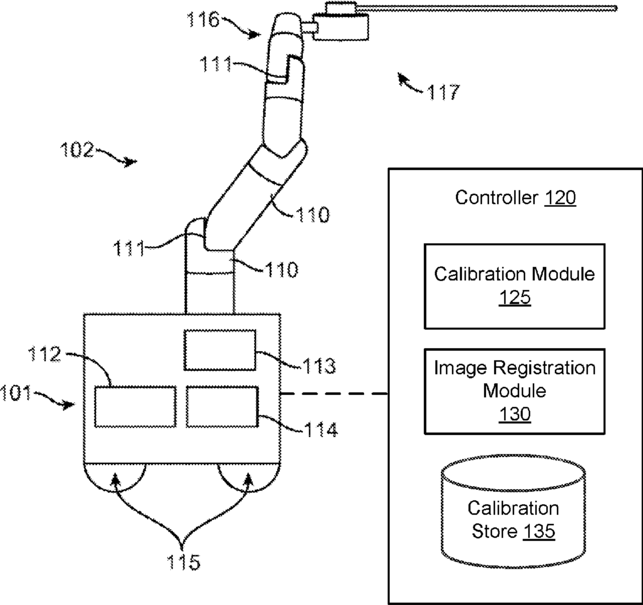
Instrument device manipulator with back-mounted tool attachment mechanism
授权日
1900-01-01
公开(公告)号
US20170065363A1
申请日
2016-09-09
公开(公告)日
2017-03-09
当前申请(专利权)人
AURIS HEALTH, INC.
发明人
SCHUH, TRAVIS | WILLIAMS, MATTHEW REAGAN | BOGUSKY, JOSEPH DANIEL | MINTZ, DAVID S. | YU, ALAN | DAN, YOICHIRO
简单同族
US20170065357A1 | US20170065363A1 | US20170065364A1 | US20170065365A1 | US9713509 | US9737373 | US9980785 | US9993313
简单同族成员数量
8
简单同族被引用专利总数
76
诉讼案件数
0
法律状态/事件
授权 | 权利转移
抱歉,您的浏览器不支持PDF预览,请点击链接下载PDF文件