专利数据库
统计分析
产业报告
专利数据监控
产业人才
行业动态
产业政策法规
维权援助
个人中心
详情
文本
图像
标题
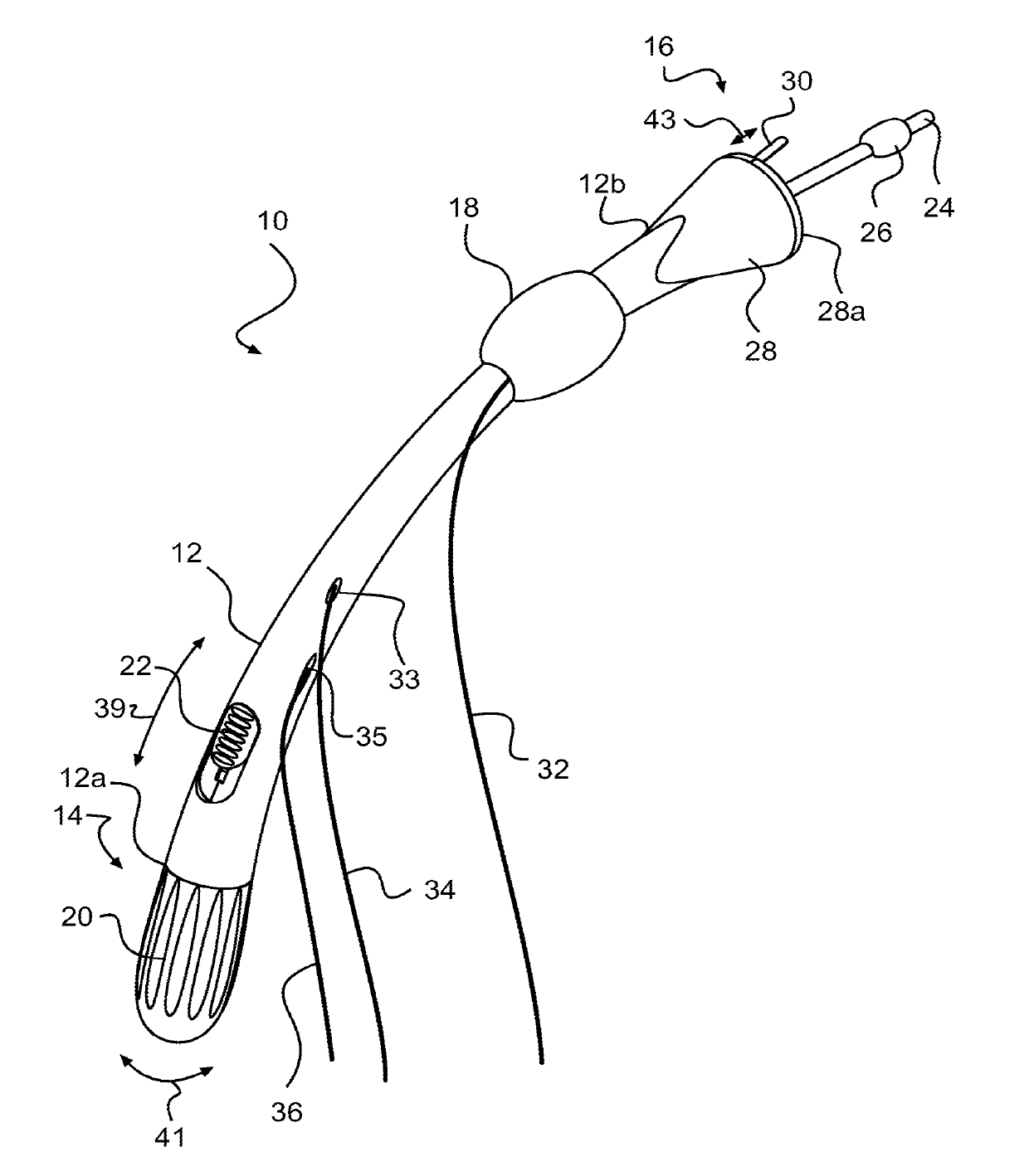
Apparatus for treating a portion of a reproductive system and related methods of use
授权日
1900-01-01
公开(公告)号
US20190167306A1
申请日
2018-06-29
公开(公告)日
2019-06-06
当前申请(专利权)人
SURGIGYN, INC.
发明人
BRECHEEN, ROGER M. | KOEHLER, JOHN H.
简单同族
AU2011338938A1 | AU2011338938B2 | CA2858521A1 | EP2651326A1 | EP2651326B1 | EP3636190A1 | US10034687 | US20120143209A1 | US20120143210A1 | US20140180282A1 | US20190167306A1 | US8323278 | US8608738 | WO2012078224A1
简单同族成员数量
14
简单同族被引用专利总数
68
诉讼案件数
0
法律状态/事件
实质审查
抱歉,您的浏览器不支持PDF预览,请点击链接下载PDF文件