专利数据库
统计分析
产业报告
专利数据监控
产业人才
行业动态
产业政策法规
维权援助
个人中心
详情
文本
图像
标题
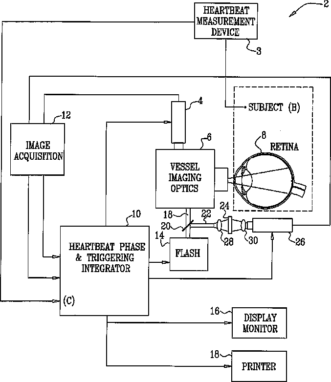
Imaging and analysis of movement of erythrocytes in blood vessels in relation to the cardiac cycle
授权日
2012-05-08
公开(公告)号
US8172763
申请日
2006-05-08
公开(公告)日
2012-05-08
当前申请(专利权)人
YEDA RESEARCH AND DEVELOPMENT CO., LTD.
发明人
NELSON, DARIN | DRORI, ARIK | GRINVALD, AMIRAM
简单同族
CN101212928A | CN101212928B | EP1881788A2 | EP1881788A4 | IL187067D0 | JP2008539905A | JP2008539905A5 | US20090221912A1 | US8172763 | WO2006121984A2 | WO2006121984A3
简单同族成员数量
11
简单同族被引用专利总数
38
诉讼案件数
0
法律状态/事件
授权 | 权利转移
抱歉,您的浏览器不支持PDF预览,请点击链接下载PDF文件