专利数据库
统计分析
产业报告
专利数据监控
产业人才
行业动态
产业政策法规
维权援助
个人中心
详情
文本
图像
标题
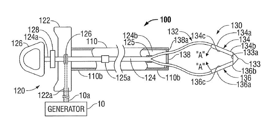
Polyp removal device and method of use
授权日
2018-03-20
公开(公告)号
US9918771
申请日
2012-12-11
公开(公告)日
2018-03-20
当前申请(专利权)人
COVIDIEN LP
发明人
REGADAS, F. SERGIO P.
简单同族
AU2009212746A1 | AU2009212746B2 | CA2713898A1 | CA2713898C | EP2244649A1 | EP2244649B1 | EP2676626A1 | EP2676626B1 | JP2011510756A | JP2011510756A5 | JP2013230389A | JP5563485B2 | JP5826798B2 | US20100036375A1 | US20130103041A1 | US20180177541A1 | US8328803 | US9918771 | USR46063 | WO2009099960A1
简单同族成员数量
20
简单同族被引用专利总数
136
诉讼案件数
0
法律状态/事件
授权 | 权利转移
抱歉,您的浏览器不支持PDF预览,请点击链接下载PDF文件