专利数据库
统计分析
产业报告
专利数据监控
产业人才
行业动态
产业政策法规
维权援助
个人中心
详情
文本
图像
标题
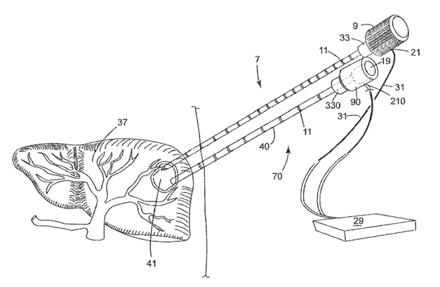
Coaxial dual function probe and method of use
授权日
2018-04-03
公开(公告)号
US9931161
申请日
2015-01-07
公开(公告)日
2018-04-03
当前申请(专利权)人
ANGIODYNAMICS, INC.
发明人
WILLIS, JEFFREY R.
简单同族
US20120310230A1 | US20150126922A1 | US9931161
简单同族成员数量
3
简单同族被引用专利总数
86
诉讼案件数
0
法律状态/事件
授权 | 质押
抱歉,您的浏览器不支持PDF预览,请点击链接下载PDF文件