专利数据库
统计分析
产业报告
专利数据监控
产业人才
行业动态
产业政策法规
维权援助
个人中心
详情
文本
图像
标题
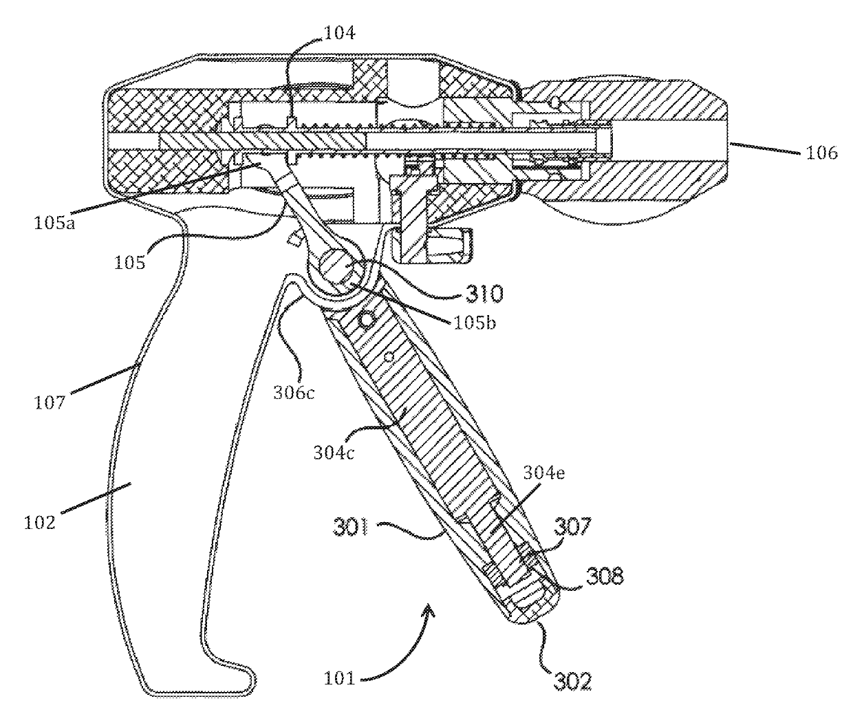
Hermetic rotating handle assembly for a surgical clip applier for laparoscopic procedures
授权日
2019-06-04
公开(公告)号
US10307162
申请日
2016-08-16
公开(公告)日
2019-06-04
当前申请(专利权)人
CONMED CORPORATION
发明人
MENN, PAVEL | ROSSO, NATHANIEL
简单同族
US10307162 | US20110245847A1 | US20140296879A1 | US20170100123A1 | US8715299 | US9468444 | WO2011127223A1
简单同族成员数量
7
简单同族被引用专利总数
82
诉讼案件数
0
法律状态/事件
授权 | 权利转移
抱歉,您的浏览器不支持PDF预览,请点击链接下载PDF文件