专利数据库
统计分析
产业报告
专利数据监控
产业人才
行业动态
产业政策法规
维权援助
个人中心
详情
文本
图像
标题
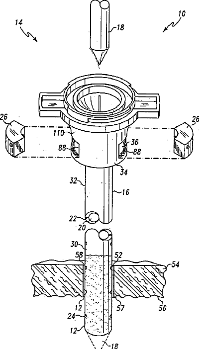
Minimally invasive medical apparatus for dispensing a biologically active compound and an associated medical procedure for dispensing a biologically active compound
授权日
1900-01-01
公开(公告)号
US20040111052A1
申请日
2003-12-03
公开(公告)日
2004-06-10
当前申请(专利权)人
RED DRAGON INNOVATIONS, LLC
发明人
MOENNING, STEPHEN P.
简单同族
US20020049413A1 | US20040111052A1 | US20090198187A1 | US6302873 | US6695815
简单同族成员数量
5
简单同族被引用专利总数
72
诉讼案件数
0
法律状态/事件
撤回 | 权利转移
抱歉,您的浏览器不支持PDF预览,请点击链接下载PDF文件