专利数据库
统计分析
产业报告
专利数据监控
产业人才
行业动态
产业政策法规
维权援助
个人中心
详情
文本
图像
标题
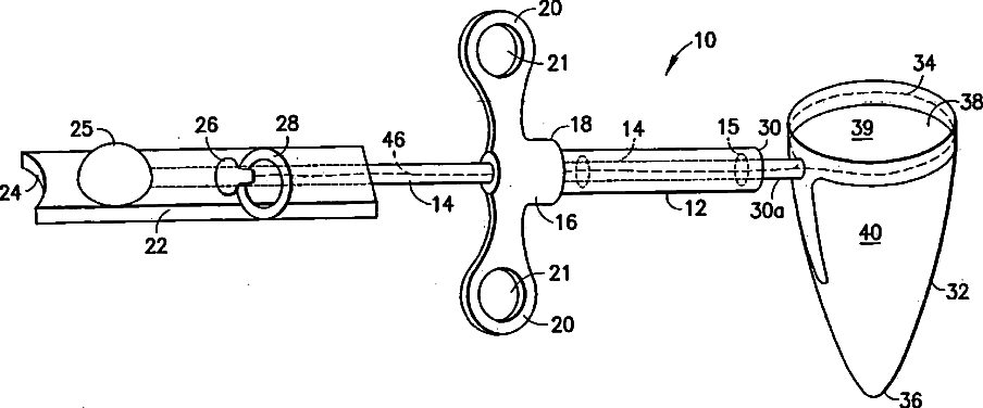
Specimen collection instrument with inflatable bag
授权日
1900-01-01
公开(公告)号
US20040138587A1
申请日
2003-07-17
公开(公告)日
2004-07-15
当前申请(专利权)人
LYONS TOOL AND DYE COMPANY
发明人
LYONS, WILLIAM LAWRENCE IV
简单同族
US20040138587A1 | WO2004064669A2 | WO2004064669A3
简单同族成员数量
3
简单同族被引用专利总数
185
诉讼案件数
0
法律状态/事件
撤回 | 权利转移
抱歉,您的浏览器不支持PDF预览,请点击链接下载PDF文件