专利数据库
统计分析
产业报告
专利数据监控
产业人才
行业动态
产业政策法规
维权援助
个人中心
详情
文本
图像
标题
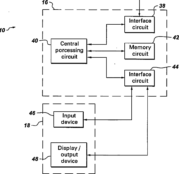
System and method for correcting motion artifacts in imaging
授权日
1900-01-01
公开(公告)号
US20060074296A1
申请日
2004-09-27
公开(公告)日
2006-04-06
当前申请(专利权)人
GENERAL ELECTRIC COMPANY
发明人
DUMOULIN, CHARLES LUCIAN | DARROW, ROBERT DAVID
简单同族
US20060074296A1 | US7787935
简单同族成员数量
2
简单同族被引用专利总数
42
诉讼案件数
0
法律状态/事件
未缴年费 | 权利转移
抱歉,您的浏览器不支持PDF预览,请点击链接下载PDF文件