专利数据库
统计分析
产业报告
专利数据监控
产业人才
行业动态
产业政策法规
维权援助
个人中心
详情
文本
图像
标题
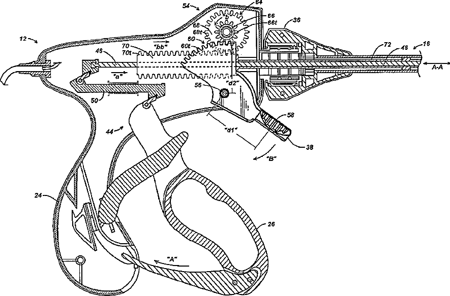
Pinion Blade Drive Mechanism for a Laparoscopic Vessel Dissector
授权日
1900-01-01
公开(公告)号
US20110276049A1
申请日
2010-05-04
公开(公告)日
2011-11-10
当前申请(专利权)人
COVIDIEN LP
发明人
GERHARDT, THOMAS J.
简单同族
US10265118 | US20110276049A1 | US20190239940A1
简单同族成员数量
3
简单同族被引用专利总数
199
诉讼案件数
0
法律状态/事件
授权 | 权利转移
抱歉,您的浏览器不支持PDF预览,请点击链接下载PDF文件