专利数据库
统计分析
产业报告
专利数据监控
产业人才
行业动态
产业政策法规
维权援助
个人中心
详情
文本
图像
标题
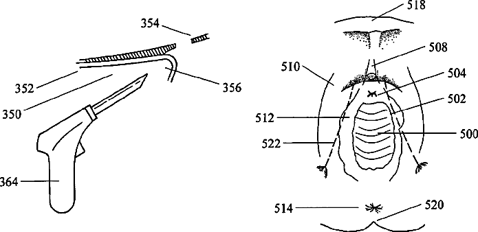
System and methods for soft tissue reconstruction
授权日
2006-01-03
公开(公告)号
US6981983
申请日
2000-03-31
公开(公告)日
2006-01-03
当前申请(专利权)人
ROSENBLATT ASSOCIATES, LLC
发明人
ROSENBLATT, PETER L. | WHIPPLE, DALE E.
简单同族
US6981983
简单同族成员数量
1
简单同族被引用专利总数
295
诉讼案件数
0
法律状态/事件
未缴年费 | 权利转移
抱歉,您的浏览器不支持PDF预览,请点击链接下载PDF文件