专利数据库
统计分析
产业报告
专利数据监控
产业人才
行业动态
产业政策法规
维权援助
个人中心
详情
文本
图像
标题
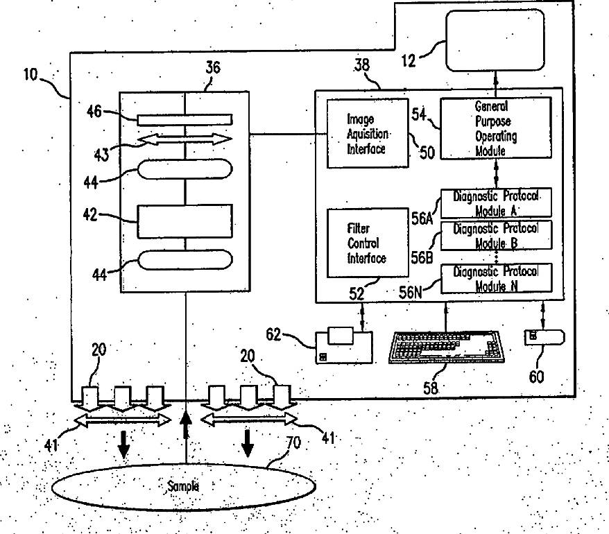
Medical hyperspectral imaging for evaluation of tissue and tumor
授权日
1900-01-01
公开(公告)号
US20060247514A1
申请日
2005-11-29
公开(公告)日
2006-11-02
当前申请(专利权)人
HYPERMED IMAGING, INC.
发明人
PANASYUK, SVETLANA V. | FREEMAN, JENNY E. | PANASYUK, ALEXANDER A.
简单同族
CA2631564A1 | CA3031088A1 | US10117582 | US20060247514A1 | US20130131517A1 | US20160220119A1 | US20180116526A1 | US8320996 | US9204805 | US9795303 | WO2006058306A2 | WO2006058306A3
简单同族成员数量
12
简单同族被引用专利总数
156
诉讼案件数
0
法律状态/事件
授权 | 权利转移
抱歉,您的浏览器不支持PDF预览,请点击链接下载PDF文件