专利数据库
统计分析
产业报告
专利数据监控
产业人才
行业动态
产业政策法规
维权援助
个人中心
详情
文本
图像
标题
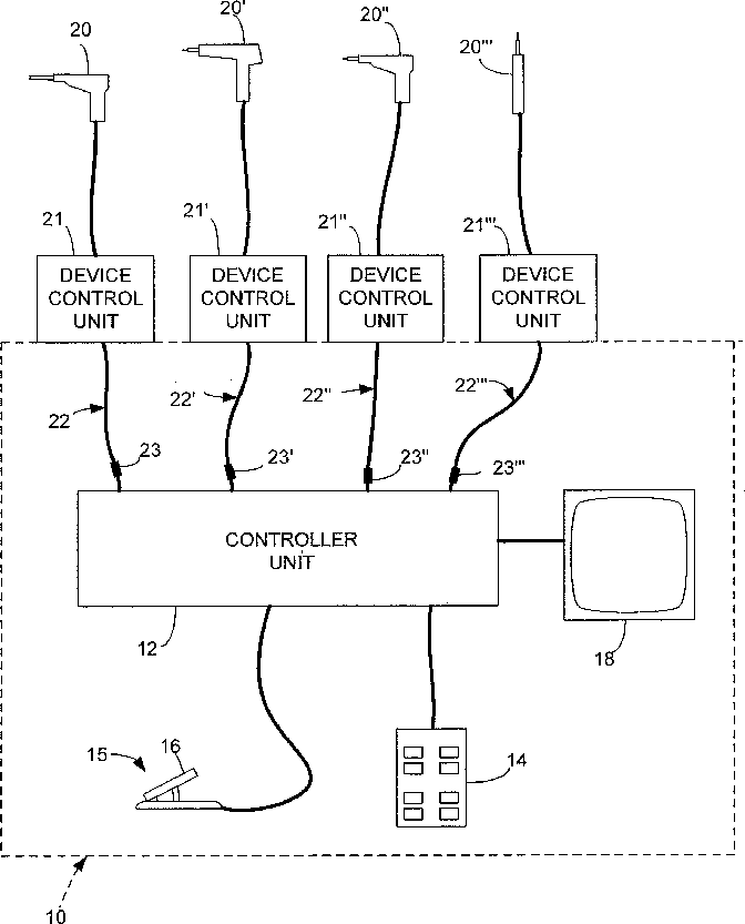
Electrosurgical control system
授权日
1900-01-01
公开(公告)号
US20070185480A1
申请日
2007-04-03
公开(公告)日
2007-08-09
当前申请(专利权)人
STRYKER CORPORATION
发明人
EL-GALLEY, RIZK | ALEXANDER, DAVID AUSTIN | HAWN, MARY
简单同族
AU2004285224A1 | CA2543613A1 | EP1677694A2 | EP1677694A4 | EP1677694B1 | JP2007509717A | US20050143724A1 | US20070185480A1 | US7217269 | US8870861 | WO2005043324A2 | WO2005043324A3
简单同族成员数量
12
简单同族被引用专利总数
380
诉讼案件数
0
法律状态/事件
授权 | 权利转移
抱歉,您的浏览器不支持PDF预览,请点击链接下载PDF文件