专利数据库
统计分析
产业报告
专利数据监控
产业人才
行业动态
产业政策法规
维权援助
个人中心
详情
文本
图像
标题
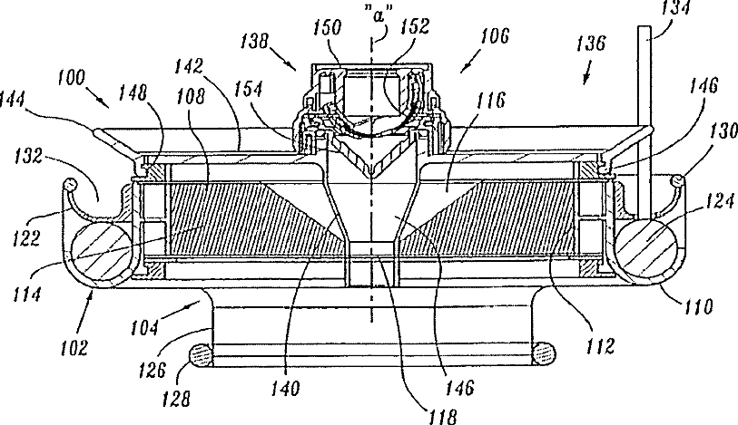
Surgical hand access apparatus
授权日
1900-01-01
公开(公告)号
US20100145152A1
申请日
2010-02-17
公开(公告)日
2010-06-10
当前申请(专利权)人
COVIDIEN LP
发明人
SMITH, ROBERT C. | WENCHELL, THOMAS
简单同族
AU2005231843A1 | AU2005231843B2 | CA2560158A1 | CA2560158C | EP1732623A2 | EP1732623A4 | EP1732623B1 | JP2008504051A | JP2011092745A | JP2011092745A5 | US20050267419A1 | US20100145152A1 | US20130281786A1 | US7717847 | US8485971 | WO2005097234A2 | WO2005097234A3
简单同族成员数量
17
简单同族被引用专利总数
357
诉讼案件数
0
法律状态/事件
授权 | 权利转移
抱歉,您的浏览器不支持PDF预览,请点击链接下载PDF文件