专利数据库
统计分析
产业报告
专利数据监控
产业人才
行业动态
产业政策法规
维权援助
个人中心
详情
文本
图像
标题
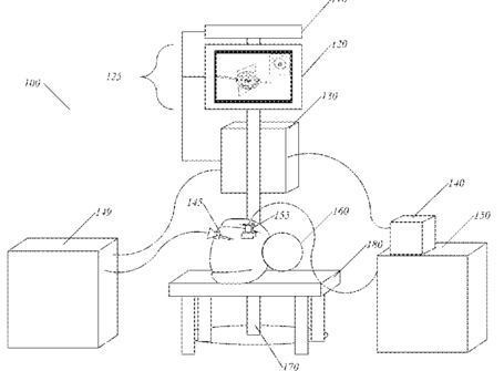
Multiple medical device guidance
授权日
1900-01-01
公开(公告)号
US20180289344A1
申请日
2017-10-31
公开(公告)日
2018-10-11
当前申请(专利权)人
INNEROPTIC TECHNOLOGY, INC.
发明人
GREEN, CAROLINE | HEANEY, BRIAN | RAZZAQUE, SHARIF | STATE, ANDREI
简单同族
US20130197357A1 | US20140180074A1 | US20180289344A1 | US8670816 | WO2013116240A1
简单同族成员数量
5
简单同族被引用专利总数
154
诉讼案件数
0
法律状态/事件
实质审查
抱歉,您的浏览器不支持PDF预览,请点击链接下载PDF文件