专利数据库
统计分析
产业报告
专利数据监控
产业人才
行业动态
产业政策法规
维权援助
个人中心
详情
文本
图像
标题
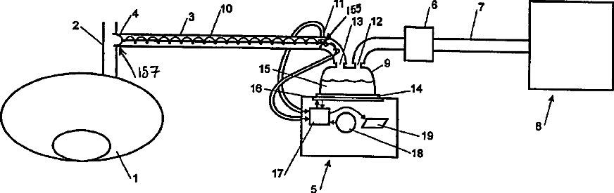
Apparatus used for the humidification of gases in medical procedures
授权日
2012-06-26
公开(公告)号
US8206337
申请日
2001-10-15
公开(公告)日
2012-06-26
当前申请(专利权)人
FISHER & PAYKEL HEALTHCARE LIMITED
发明人
BLACKHURST, MICHAEL JOSEPH | BATTY, NINA CAROLINE | SMITH, DANIEL JOHN | KADHUM, HUSSEIN
简单同族
AU2002011121A1 | AU2002211121A1 | AU2002211121A2 | AU2002211121B2 | CA2424647A1 | CA2424647C | EP1326665A1 | EP1326665A4 | EP1326665B1 | EP3545999A1 | JP2004511309A | JP4180367B2 | US10293121 | US20040102731A1 | US20130072862A1 | US20150335832A1 | US20190275265A1 | US8206337 | US9095668 | WO2002032486A1
简单同族成员数量
20
简单同族被引用专利总数
172
诉讼案件数
0
法律状态/事件
授权 | 权利转移
抱歉,您的浏览器不支持PDF预览,请点击链接下载PDF文件