专利数据库
统计分析
产业报告
专利数据监控
产业人才
行业动态
产业政策法规
维权援助
个人中心
详情
文本
图像
标题
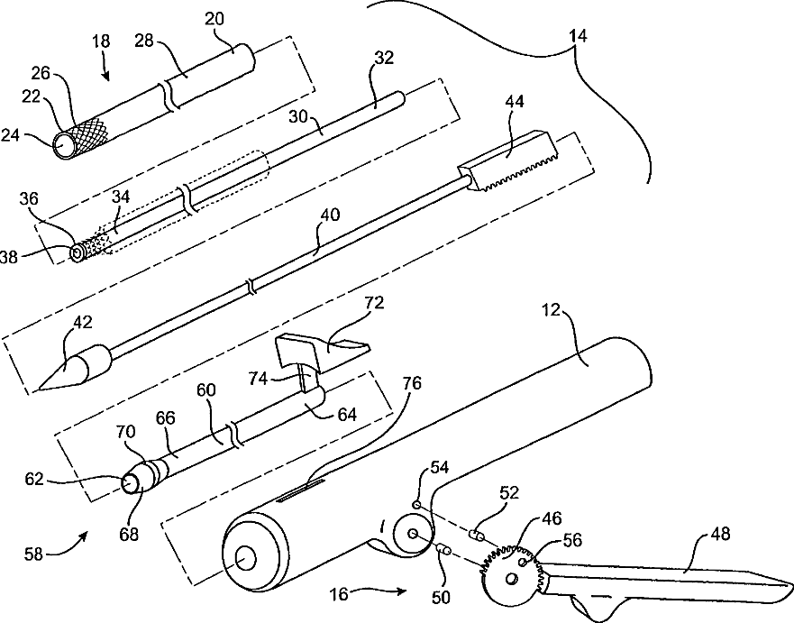
Methods and devices for placing a conduit in fluid communication with a target vessel
授权日
1900-01-01
公开(公告)号
US20020004663A1
申请日
2001-05-07
公开(公告)日
2002-01-10
当前申请(专利权)人
MEDTRONIC, INC.
发明人
GITTINGS, DARIN C. | RAPACKI, ALAN R. | CARSON, DEAN F. | COLE, DAVID H. | LEPULU, KEKE | SHARKAWY, ADAM | LAROYA, GILBERT S. | BUCH, WALLY S.
简单同族
US20020004663A1 | US7025773
简单同族成员数量
2
简单同族被引用专利总数
230
诉讼案件数
0
法律状态/事件
未缴年费 | 权利转移
抱歉,您的浏览器不支持PDF预览,请点击链接下载PDF文件