专利数据库
统计分析
产业报告
专利数据监控
产业人才
行业动态
产业政策法规
维权援助
个人中心
详情
文本
图像
标题
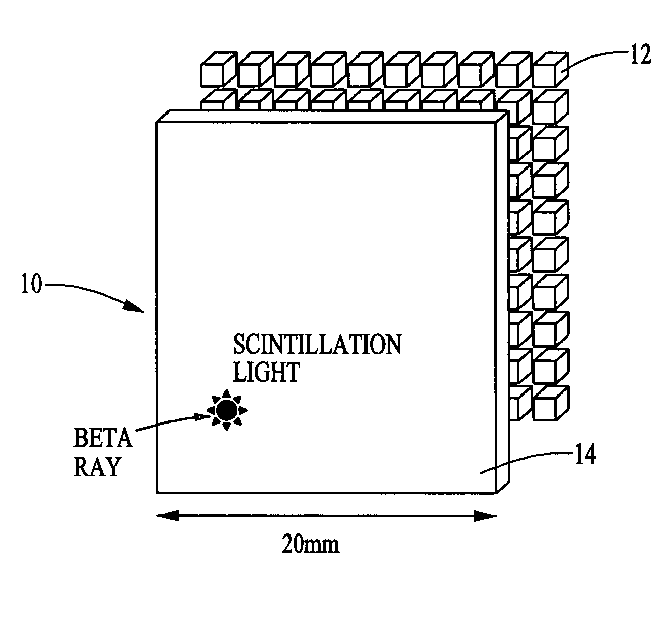
Detection of radiation labeled sites using a radiation detection probe or camera incorporating a solid state photo-multiplier
授权日
1900-01-01
公开(公告)号
US20100198061A9
申请日
2007-04-09
公开(公告)日
2010-08-05
当前申请(专利权)人
INTRAMEDICAL IMAGING, LLC
发明人
DAGHIGHIAN, FARHAD | DAGHIGHIAN, HENRY
简单同族
US20100010343A1 | US20100198061A9 | US8068896
简单同族成员数量
3
简单同族被引用专利总数
61
诉讼案件数
0
法律状态/事件
授权 | 权利转移
抱歉,您的浏览器不支持PDF预览,请点击链接下载PDF文件