专利数据库
统计分析
产业报告
专利数据监控
产业人才
行业动态
产业政策法规
维权援助
个人中心
详情
文本
图像
标题
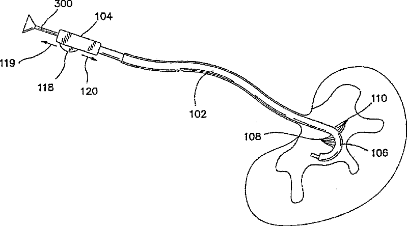
Steerable kink-resistant sheath
授权日
1900-01-01
公开(公告)号
US20140296778A1
申请日
2014-01-27
公开(公告)日
2014-10-02
当前申请(专利权)人
APPLIED MEDICAL RESOURCES CORPORATION
发明人
HART, CHARLES C. | BRUSTAD, JOHN R. | HILAL, NABIL | KAHLE, HENRY | GADBERRY, DONALD L.
简单同族
US20050004515A1 | US20070277921A1 | US20110066105A1 | US20140296778A1 | US7850811 | US8721826 | US9675378
简单同族成员数量
7
简单同族被引用专利总数
226
诉讼案件数
0
法律状态/事件
授权 | 质押 | 权利转移
抱歉,您的浏览器不支持PDF预览,请点击链接下载PDF文件