专利数据库
统计分析
产业报告
专利数据监控
产业人才
行业动态
产业政策法规
维权援助
个人中心
详情
文本
图像
标题
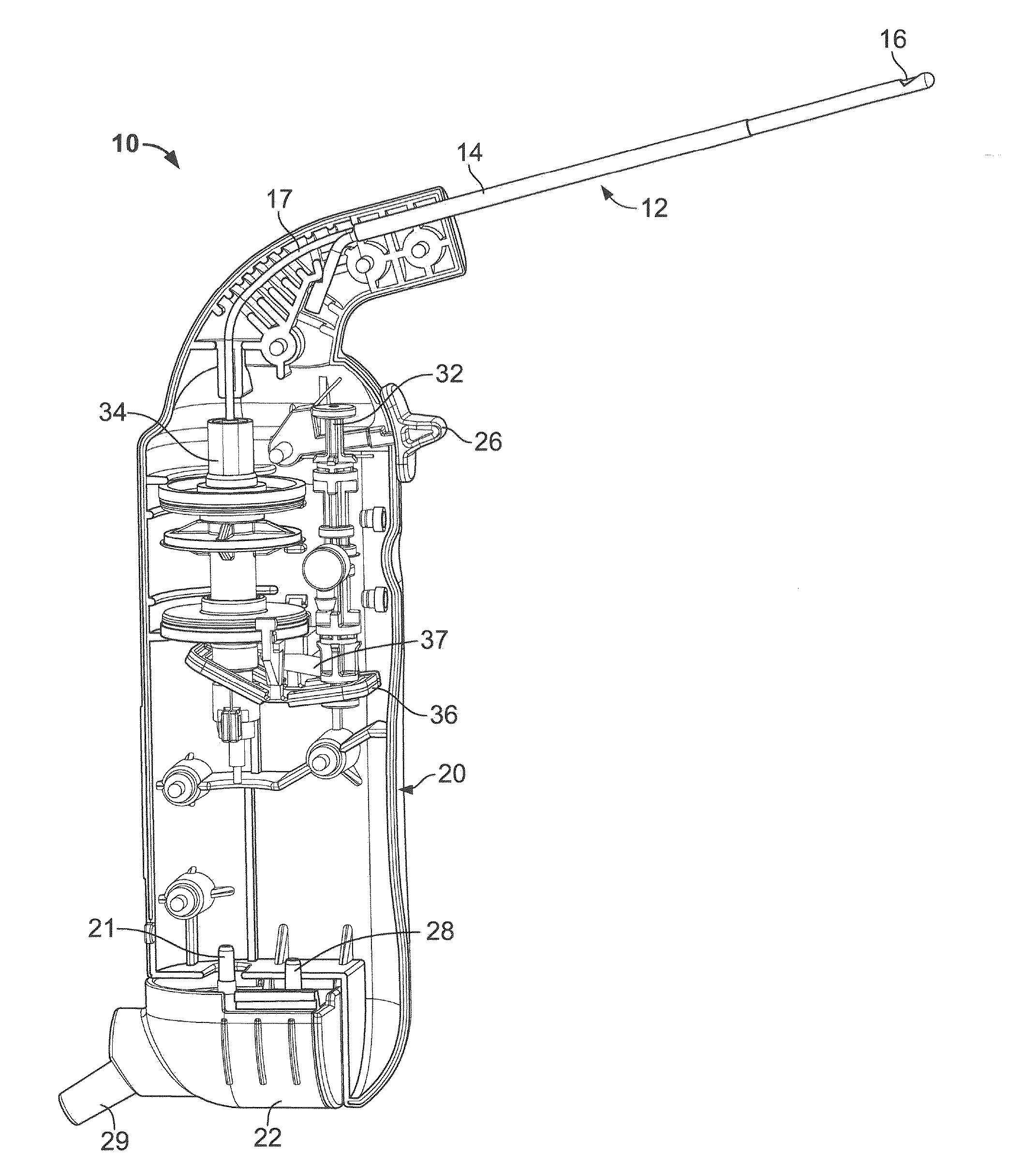
Devices and methods for resecting soft tissue
授权日
1900-01-01
公开(公告)号
US20160262785A1
申请日
2015-10-15
公开(公告)日
2016-09-15
当前申请(专利权)人
MYROMED, LLC
发明人
DUBOIS, BRIAN R. | NIELSEN, JAMES T. | GORDON, ALEXANDER
简单同族
US20130211321A1 | US20160262785A1
简单同族成员数量
2
简单同族被引用专利总数
26
诉讼案件数
0
法律状态/事件
撤回 | 权利转移
抱歉,您的浏览器不支持PDF预览,请点击链接下载PDF文件