专利数据库
统计分析
产业报告
专利数据监控
产业人才
行业动态
产业政策法规
维权援助
个人中心
详情
文本
图像
标题
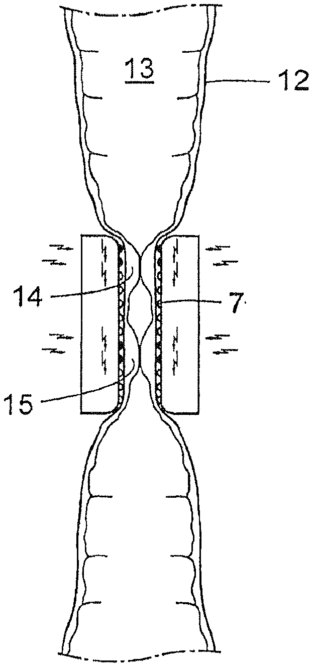
Method for the treatment of gallstones
授权日
1900-01-01
公开(公告)号
US20200101296A1
申请日
2019-09-09
公开(公告)日
2020-04-02
当前申请(专利权)人
FORSELL, PETER
发明人
FORSELL, PETER
简单同族
US10406371 | US20090248033A1 | US20120209341A1 | US20200101296A1
简单同族成员数量
4
简单同族被引用专利总数
38
诉讼案件数
0
法律状态/事件
公开
抱歉,您的浏览器不支持PDF预览,请点击链接下载PDF文件