专利数据库
统计分析
产业报告
专利数据监控
产业人才
行业动态
产业政策法规
维权援助
个人中心
详情
文本
图像
标题
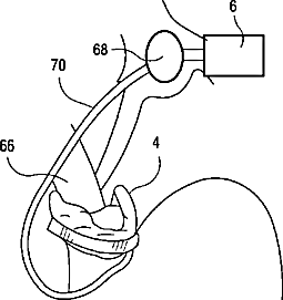
Heartburn and reflux disease treatment apparatus with wireless energy supply
授权日
2002-09-24
公开(公告)号
US6454700
申请日
2000-02-09
公开(公告)日
2002-09-24
当前申请(专利权)人
OBTECH MEDICAL AG
发明人
FORSELL, PETER
简单同族
AT348580T | AT427084T | AT434998T | AU2001034274A1 | AU759225B2 | BRPI0108179A2 | BRPI0108179B1 | CA2397276A1 | CA2397276C | CN1400887A | CY1109177T1 | DE60125325D1 | DE60125325T2 | DE60138232D1 | DE60139163D1 | DK1253883T3 | DK1591086T3 | EP1253883A2 | EP1253883B1 | EP1591086A1 | EP1591086B1 | EP1593359A1 | EP1593359B1 | ES2278721T3 | ES2322162T3 | ES2327048T3 | IL151134A | IL151134D0 | MXPA02007409A | PT1253883E | PT1591086E | US6454700 | WO2001047432A2 | WO2001047432A3
简单同族成员数量
34
简单同族被引用专利总数
170
诉讼案件数
0
法律状态/事件
期限届满 | 权利转移
抱歉,您的浏览器不支持PDF预览,请点击链接下载PDF文件