专利数据库
统计分析
产业报告
专利数据监控
产业人才
行业动态
产业政策法规
维权援助
个人中心
详情
文本
图像
标题
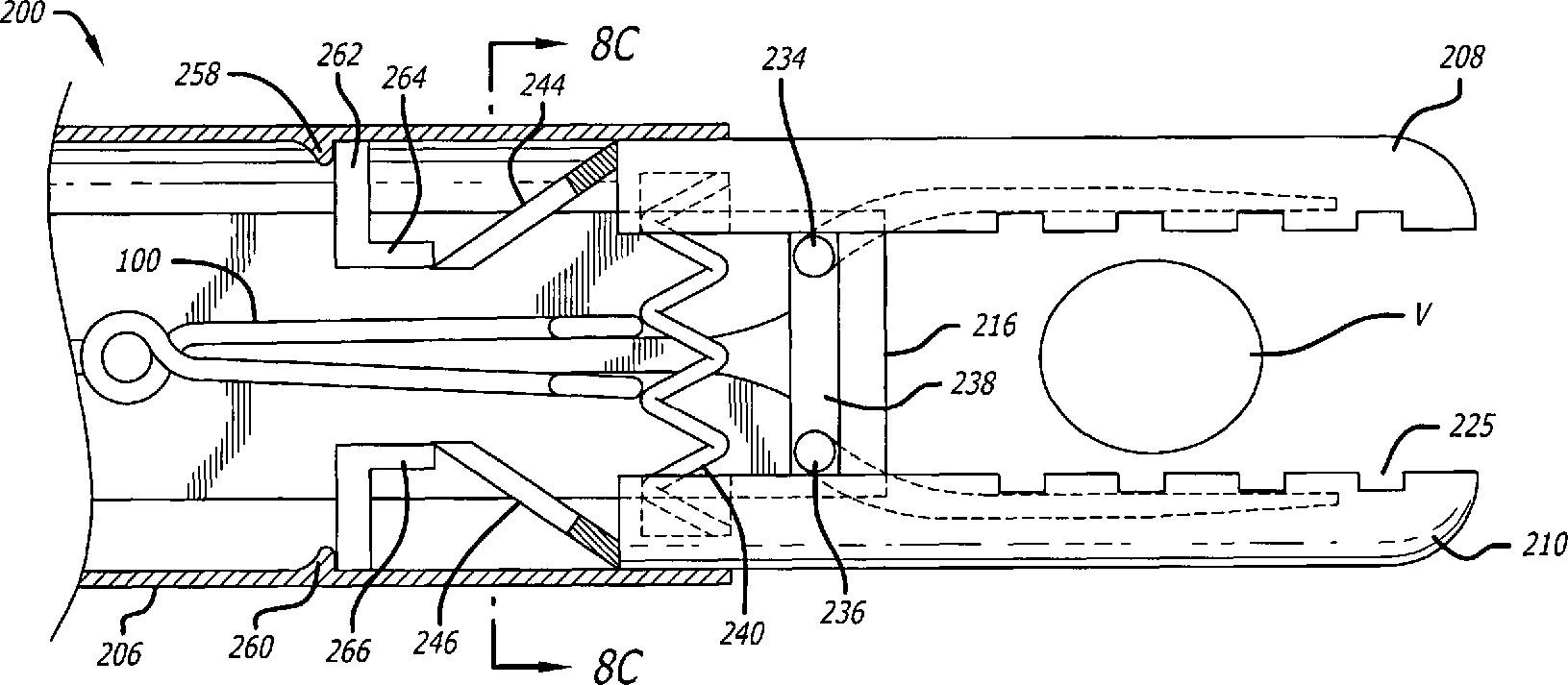
Ligation clip applier
授权日
2012-05-08
公开(公告)号
US8172870
申请日
2004-06-09
公开(公告)日
2012-05-08
当前申请(专利权)人
MICROLINE SURGICAL, INC.
发明人
SHIPP, JOHN I.
简单同族
US20050119677A1 | US8172870
简单同族成员数量
2
简单同族被引用专利总数
302
诉讼案件数
0
法律状态/事件
授权 | 权利转移
抱歉,您的浏览器不支持PDF预览,请点击链接下载PDF文件