专利数据库
统计分析
产业报告
专利数据监控
产业人才
行业动态
产业政策法规
维权援助
个人中心
详情
文本
图像
标题
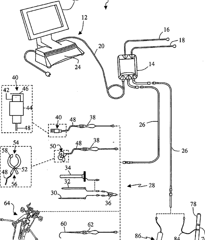
System and methods for monitoring during anterior surgery
授权日
1900-01-01
公开(公告)号
US20100010367A1
申请日
2005-12-30
公开(公告)日
2010-01-14
当前申请(专利权)人
NUVASIVE, INC.
发明人
FOLEY, KEVIN T. | FERREE, BRET A. | GHARIB, JAMES
简单同族
US20100010367A1 | WO2006072050A2 | WO2006072050A3
简单同族成员数量
3
简单同族被引用专利总数
72
诉讼案件数
0
法律状态/事件
撤回 | 质押 | 权利转移
抱歉,您的浏览器不支持PDF预览,请点击链接下载PDF文件