专利数据库
统计分析
产业报告
专利数据监控
产业人才
行业动态
产业政策法规
维权援助
个人中心
详情
文本
图像
标题
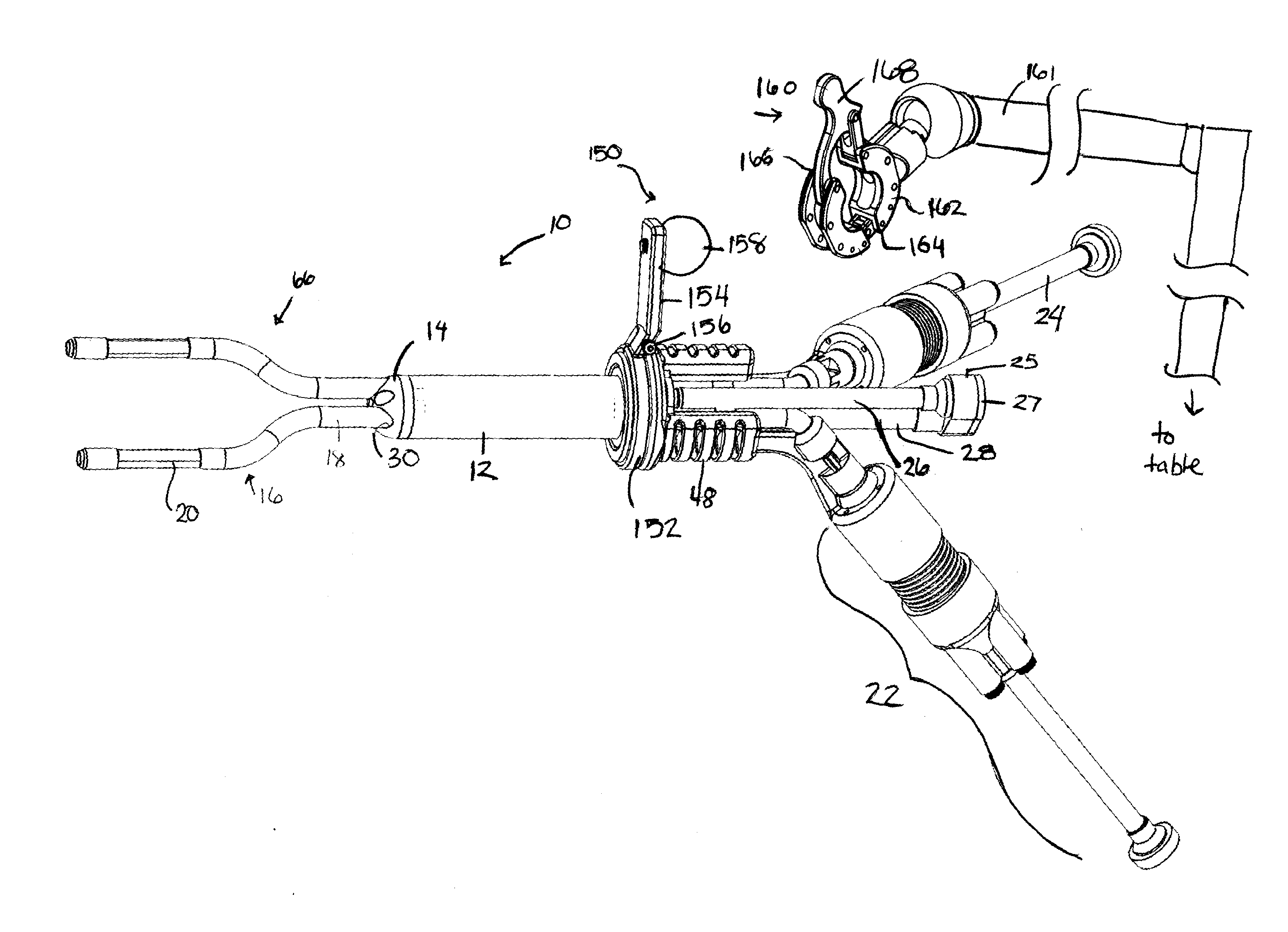
Multi-instrument access devices and systems
授权日
1900-01-01
公开(公告)号
US20110060183A1
申请日
2009-07-28
公开(公告)日
2011-03-10
当前申请(专利权)人
TRANSENTERIX SURGICAL, INC.
发明人
CASTRO, SALVATORE | SMITH, JEFFREY A. | ORTH, GEOFFREY A.
简单同族
AU2010215951A1 | CA2760202A1 | EP2403419A1 | JP2012518478A | KR1020120079446A | US20110060183A1 | WO2010096580A1
简单同族成员数量
7
简单同族被引用专利总数
67
诉讼案件数
0
法律状态/事件
撤回 | 权利转移
抱歉,您的浏览器不支持PDF预览,请点击链接下载PDF文件