专利数据库
统计分析
产业报告
专利数据监控
产业人才
行业动态
产业政策法规
维权援助
个人中心
详情
文本
图像
标题
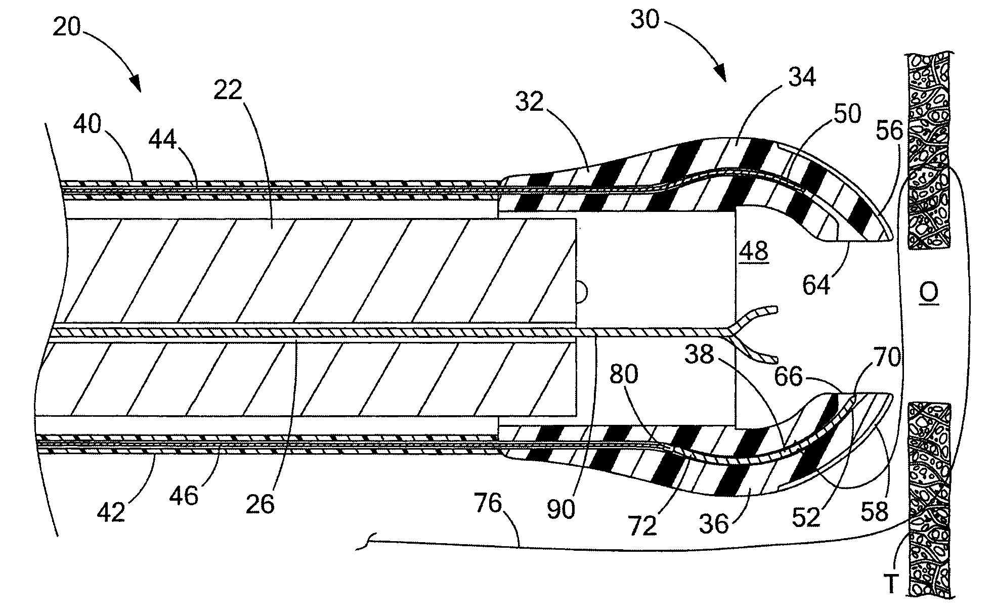
Medical devices and methods for suturing tissue
授权日
2013-06-18
公开(公告)号
US8465506
申请日
2010-12-17
公开(公告)日
2013-06-18
当前申请(专利权)人
COOK MEDICAL TECHNOLOGIES LLC
发明人
MCLAWHORN, TYLER EVANS | DUCHARME, RICHARD W.
简单同族
AU2010341614A1 | AU2010341614B2 | CA2785269A1 | CA2785269C | CN102858253A | CN102858253B | EP2515767A1 | EP2515767B1 | JP2013514866A | JP5894930B2 | US20110152891A1 | US8465506 | WO2011087725A1
简单同族成员数量
13
简单同族被引用专利总数
26
诉讼案件数
0
法律状态/事件
授权 | 权利转移
抱歉,您的浏览器不支持PDF预览,请点击链接下载PDF文件